Products

A4 Size Cutting Machine
Precision:±0.2mm
Feeding Roll:One Rolls
Ruian Take Off Machinery Co., Ltd. is one of the most reliable manufacturers and suppliers of a4 size cutting machine in China. If you're going to buy high quality a4 size cutting machine, welcome to get more information from our factory. For price consultation, contact us.


Capacity:
1.Single roll unwinding : 1.5 ream/min (900 ream/day)(2.25 ton paper/day)
2.Double roll unwinding : 3 ream/min (1800 ream/day)(4.5 ton paper/day)
3.Four roll unwinding:6 ream/min(3600 ream/day)(9 ton paper/day)
Technical Parameter
Model | TO-1100 |
The max jumbo roll diameter | φ1400mm |
The max jumbo roll width | 1100mm |
Cutting length | 20-1200mm,A3,A4 |
Speed | 20-200 times/min |
Material GSM | 40-450gsm |
Precision | ±0.2mm |
Feeding Roll | One Rolls |
Capacity | 1.5 bags/min |
Power | 9.5KW |
Voltage | 380V/50HZ(Other can be customize) |
Weight | 4500kg |
Dimension(L×W×H) | 6200×3300×1400 |
Characteristic:
●The machine adopts servo motor,frequency controlling speed.PLC Control System,including automatic tension control,automatic counting,setting cutting size,automatic stop by setting time&number and other many functions.
●Unwinding jumbo roll part use automatic air shaft(3/6 inch,optional) or shaft-less(3/6 inch,optional)
●Unwinding jumbo roll part adopts EPC system,automatic correcting web material position and keeping high cutting precision.
●Machine shelf adopt casting steel,guillotine knife use heavy casting structure,traction rollers use static balance processing aluminum rollers.
●Automatic stacking&trimming finished sheets,using two stage motors to convey sheets to broadside.The convey broadside model machine can link to automatic packaging machine.

How to solve the problem about winding material high precision and efficiency:
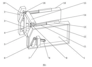
which is conducive to the operation of the 2. The bottom of the 16 is fixed 18 by screws. 14 is fixed on the 1 and the 18 by screws. 14 is sleeved with 15, and the other side of the top of 1 and the 18 is fixed with 13 by screws. One side of the 13 is sleeved with 12, and the 12 is connected to the 15, and 11 is fixed at the top center of the 1 and the 18 by screws, and 11 is sleeved on the bottom of the 12, and one end of the 1 The bottom is sleeved with the 5, and the other end of the 5 is sleeved at the bottom of the 18, the bottom side of the 18 is fixed with 17 by screws, and the 17 is connected with one end of the 5, which is beneficial to the 17 In operation, both ends of the 5 are sleeved with 3, and the top of the 3 is sleeved at both ends of the 2, and one end of the 2 is sleeved with the 10, and the 10 is fixed on the second wall by screws On the top side of the 18, the outside of the 1 and the 18 are covered with a dust-proof thin film, and the bottom of the 1 and the 18 are sleeved There is a non-slip sleeve, which is conducive to dust prevention and fixation;

Hot Tags: a4 size cutting machine, China, manufacturers, factory, price, A4 A3 Paper Cutting Machine, A4 Size Paper Machine, Copier Paper Making Machine, A4 Paper Cutting And Packing Machine, Paper Roll To A4 Sheet Cutting Machine, A4 Sheet Cutter








